Кільце ущільнювача, стрижень кла CORTECO 19027882
Дана запчастина не підходить для вибраного автомобіля
потрібна перевірка за VIN-кодом, уточнюйте сумісність у наших фахівців
потрібна перевірка за VIN-кодом, уточнюйте сумісність у наших фахівців
- Виробник
- CORTECO (Італія)
- Каталоговий номер
- 19027882
- Новий номер
- 49472862
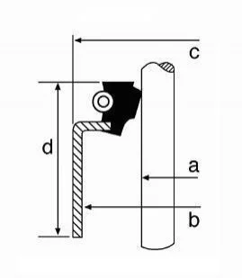
- Внутрішній діаметр
- 8
- Зовнішній діаметр [мм]
- 13
- Висота 1 [мм]
- 7
- Висота 2 [мм]
- 11
- Матеріал
- FPM (Fluor-Kautschuk)
- Зовнішній діаметр 1 [мм]
- 13
- Внутрішній діаметр 1(мм)
- 8
Застосовність
- Товар підходить до марок/моделей авто:
- - Mitsubishi: Pajero
- Товарна група:
- - Двигун і Система вихлопу Сальники клапанів
Аналоги "19027882 CORTECO":
105 ₴
сьогодні
Оригінальні номери
MITSUBISHI:
ME200524
Каталог запчастин для автомобілів до яких застосовується ця деталь
